Elektromagnetventil EMV 113
WB 305 103

- Ersatzteil oder Gerät anfragen -
Klick auf die Zeichnungsnummer zeigt Informationen zum Ersatzteil
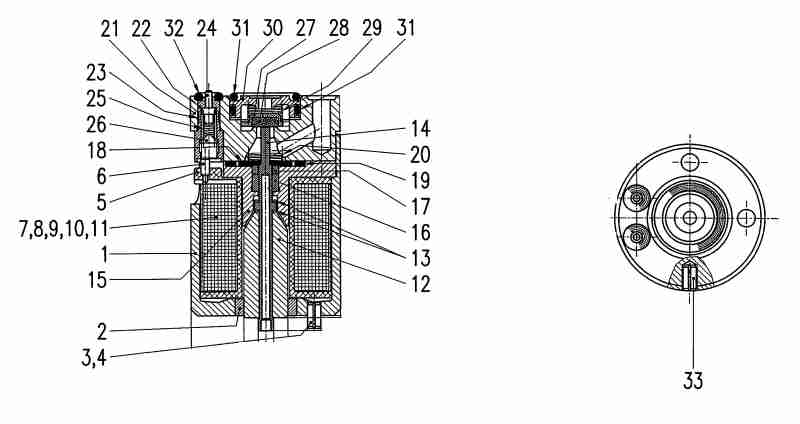
| Pos. | Anzahl | Benennung | Zeichnungsnummer |
|
|---|---|---|---|---|
| 0 | 2 | O-Ring | OR | |
| 0 | 1 | O-Ring | OR | |
| 0 | 2 | O-Ring | OR | |
| 0 | 2 | Spannstift | SPS 3x6/A2 | |
| 0 | 1 | Glissa-Lager | ST 401 665 | |
| 0 | 1 | Glissa-Lager | ST 404 763 | |
| 0 | 2 | Distanzscheibe | ST 405 838 | |
| 0 | 1 | Füllring | ST 406 701 | |
| 0 | 1 | Stössel | ST 407 232/H | |
| 0 | 1 | Spule 24 Volt | WB 300 463 | |
| 0 | 1 | Ventilsitzgummi | WB 400 401 | |
| 0 | 1 | Druckfeder | WB 401 683 | |
| 0 | 1 | Ventilsitz oben | WB 405 782/H | |
| 0 | 2 | Kontaktniet | WB 405 807 | |
| 0 | 1 | Flach-Membrane | WB 406 698 | |
| 0 | 1 | Druckfeder | WB 409 278 | |
| 0 | 2 | Kontakt | WB 409 911 | |
| 0 | 2 | Feder | WB 411 549 | |
| 0 | 2 | Buchse | WB 414 340 | |
| 4 | 1 | Magnethülse | ST 302 218 | |
| 8 | 1 | Anker | ST 406 082 | |
| 11 | 1 | Joch | ST 302 219 | |
| 17 | 1 | Oberteil | ST 305 099 | |
| 22 | 1 | Ventilstössel | WB 401 673 |

